Шанувальники лампових конструкцій.
-
UR5VFT
- Повідомлень: 457
- З нами з: Вів січня 17, 2023 6:22 pm
- Позивний: UR5VFT
- Has thanked: 437 times
- Been thanked: 95 times
Re: Шанувальники лампових конструкцій.
Андрій. вперше бачу. це точно не я. напевно хтось із друзів з-за кордону. свого часу багатьом давав пароль на їхнє прохання для спілкування. Спробую знайти хто це. дякую за наведення. 73!
-
UR5VFT
- Повідомлень: 457
- З нами з: Вів січня 17, 2023 6:22 pm
- Позивний: UR5VFT
- Has thanked: 437 times
- Been thanked: 95 times
Re: Шанувальники лампових конструкцій.
- - багато схем простих приладів для вимірювань та підбору ел. ламп.
- https://www.jogis-roehrenbude.de/Roehre ... ruefer.htm
- https://www.jogis-roehrenbude.de/Roe-Pruefer.htm
- https://www.jogis-roehrenbude.de/Roehre ... ruefer.htm
- https://www.jogis-roehrenbude.de/Roe-Pruefer.htm
-
UR5VCP
- Повідомлень: 447
- З нами з: Пон вересня 12, 2022 6:14 pm
- Звідки: KN48wi
- Позивний: UR5VCP
- Has thanked: 83 times
- Been thanked: 8 times
- Контактна інформація:
Re: Шанувальники лампових конструкцій.
Спробую підняти тему, між іншим...
Валяється пакетик з стерженьковими лампочками, військово-ссровськими, від р108, якщо не помиляюся, і десь пару нувісторів було... Що цікавого в варіанті "конструкції вихідного дня" можна замутити? Регенаратор? Чи повноцінний трансивер (емф на 500 також валяються в тумбочці)...
Хто експериментував? Параметри там не айс в цих лампочках... Але так, погратися хіба...
UPD: цікаво просто прикинути схему балансного модулятора на прямонакальних лампах... взагалі реально? Я не можу уявити... 6Х2П дві штуки - не годиться, там катод окремо..
Використати струм сітка-анод... нє... Чи не реально?
Валяється пакетик з стерженьковими лампочками, військово-ссровськими, від р108, якщо не помиляюся, і десь пару нувісторів було... Що цікавого в варіанті "конструкції вихідного дня" можна замутити? Регенаратор? Чи повноцінний трансивер (емф на 500 також валяються в тумбочці)...
Хто експериментував? Параметри там не айс в цих лампочках... Але так, погратися хіба...
UPD: цікаво просто прикинути схему балансного модулятора на прямонакальних лампах... взагалі реально? Я не можу уявити... 6Х2П дві штуки - не годиться, там катод окремо..
Використати струм сітка-анод... нє... Чи не реально?
-
oldPsyho
- Повідомлень: 606
- З нами з: П'ят жовтня 14, 2022 4:13 pm
- Звідки: KO40ig
- Позивний: UR5XOU
- Has thanked: 172 times
- Been thanked: 65 times
Re: Шанувальники лампових конструкцій.
Р108 ? чи не одновольтові часом? типу 1ж17б... Були б надмініатюрні (6ж5б, 6н16б..) то можна альбатроса зібрати....UR5VCP писав: ↑П'ят травня 12, 2023 1:33 am Спробую підняти тему, між іншим...
Валяється пакетик з стерженьковими лампочками, військово-ссровськими, від р108, якщо не помиляюся, і десь пару нувісторів було... Що цікавого в варіанті "конструкції вихідного дня" можна замутити? Регенаратор? Чи повноцінний трансивер (емф на 500 також валяються в тумбочці)...
Хто експериментував? Параметри там не айс в цих лампочках... Але так, погратися хіба...
UPD: цікаво просто прикинути схему балансного модулятора на прямонакальних лампах... взагалі реально? Я не можу уявити... 6Х2П дві штуки - не годиться, там катод окремо..
Використати струм сітка-анод... нє... Чи не реально?
-
UR5VCP
- Повідомлень: 447
- З нами з: Пон вересня 12, 2022 6:14 pm
- Звідки: KN48wi
- Позивний: UR5VCP
- Has thanked: 83 times
- Been thanked: 8 times
- Контактна інформація:
Re: Шанувальники лампових конструкцій.
саме вони. а нувістори кинувся шукати - один є, дурий хз... їх ніби на гпд ставити можна. Я так розумію що можна регенератора зробити, навіть з УВЧ.
-
UR5VCP
- Повідомлень: 447
- З нами з: Пон вересня 12, 2022 6:14 pm
- Звідки: KN48wi
- Позивний: UR5VCP
- Has thanked: 83 times
- Been thanked: 8 times
- Контактна інформація:
Re: Шанувальники лампових конструкцій.
аж заінтригував )))UR5VFT писав: ↑П'ят травня 12, 2023 9:40 pm - https://www.youtube.com/watch?v=sZkgbM6 ... 0%B8%D1%87
- https://www.youtube.com/watch?v=gf_f44E ... 1%81%D1%82
Особливо на резонаторах керамічних. Реально "з листків і палок" трансивер )))))
-
oldPsyho
- Повідомлень: 606
- З нами з: П'ят жовтня 14, 2022 4:13 pm
- Звідки: KO40ig
- Позивний: UR5XOU
- Has thanked: 172 times
- Been thanked: 65 times
Re: Шанувальники лампових конструкцій.
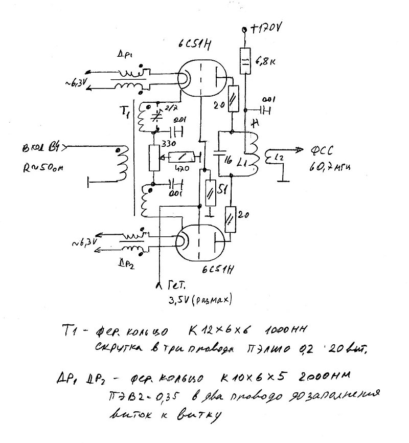
В цих лампах маленька крутизна. Їх доведеться багато ставити. Нувістори добрі в змішувачі (6С51Н). На рахунок гпд - не пораджу.
-
UR5VCP
- Повідомлень: 447
- З нами з: Пон вересня 12, 2022 6:14 pm
- Звідки: KN48wi
- Позивний: UR5VCP
- Has thanked: 83 times
- Been thanked: 8 times
- Контактна інформація:
Re: Шанувальники лампових конструкцій.
Нема в мене 6вольтових, ото що є - то є. Шось придумаю )) Побалуватися. Регенератор то точно можна зробити, повністю ламповий.