Шанувальники лампових конструкцій.

ur5ffc
Повідомлень: 94
З нами з: Суб вересня 24, 2022 9:56 am
Позивний: UR5FFC
Has thanked: 18 times
Been thanked: 25 times

Re: Шанувальники лампових конструкцій.

Повідомлення ur5ffc »

twskm писав: Суб лютого 10, 2024 12:13 pm Воно то так, 2 КЗЄ, котушка, комутація. Якби типу транзисторного, 2 транса і все на 50 Ом. ;)
 
 

 
Тоді треба думати/шукати...
Перше, що спадає на думку - пуш-пул.
На зразок 2Х6П45С, років 30 тому було в "Радио".
 
UR5VFT
Повідомлень: 500
З нами з: Вів січня 17, 2023 6:22 pm
Позивний: UR5VFT
Has thanked: 479 times
Been thanked: 100 times

Re: Шанувальники лампових конструкцій.

Повідомлення UR5VFT »

 - перший був В. Крылов (RV3AW)
"Радио" №11-87г. на 6п42с а був ще на 6п15п

 
ur5ffc
Повідомлень: 94
З нами з: Суб вересня 24, 2022 9:56 am
Позивний: UR5FFC
Has thanked: 18 times
Been thanked: 25 times

Re: Шанувальники лампових конструкцій.

Повідомлення ur5ffc »

twskm писав: П'ят лютого 09, 2024 2:27 pm Цікавить схема а не де. В неті схем нема.


 
1707594721820.jpg
 
1707594651405.jpg
 
Діапазонні контури в барабані. Як виглядають, - можу сфоткать.
 
twskm
Повідомлень: 37
З нами з: Пон жовтня 16, 2023 5:26 pm

Re: Шанувальники лампових конструкцій.

Повідомлення twskm »

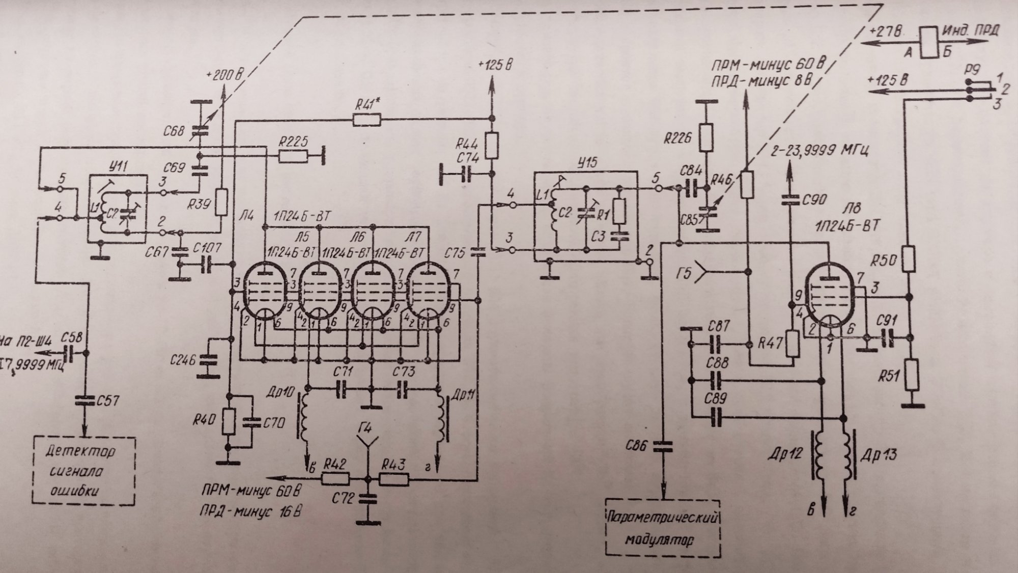
Дякую! А ще які схеми є? На нувісторах є, а то 1П24Б не маю.  А яка потужність 4чотирьох 1П24Б?
 
ur5ffc
Повідомлень: 94
З нами з: Суб вересня 24, 2022 9:56 am
Позивний: UR5FFC
Has thanked: 18 times
Been thanked: 25 times

Re: Шанувальники лампових конструкцій.

Повідомлення ur5ffc »

twskm писав: Нед лютого 11, 2024 10:27 am Дякую! А ще які схеми є? На нувісторах є, а то 1П24Б не маю.  А яка потужність 4чотирьох 1П24Б?
 



 
Так що коливальна система цього драйвера доволі малогабаритна.
весь робочий діапазон 2...30МГц перекривається лише 4 контурами.
Потужність близько 5Вт, наступний каскад Гу-74Б з ЗК.
На нувісторі тільки перший каскад приймача можу пошукати.
На 1П24Б зустрічалися часто: старі метеозонди, аварійні авіаційні 121.5МГц,...,
ще щось, вже не пам'ятаю.
 
 
 
twskm
Повідомлень: 37
З нами з: Пон жовтня 16, 2023 5:26 pm

Re: Шанувальники лампових конструкцій.

Повідомлення twskm »

А дані контурів і фото можно виставити, і схему на 6є12?
Особливо контура вихідного.
В мене просто дуже мало місця під драйвер залишилось в корпусі.

 
 
 
ur5ffc
Повідомлень: 94
З нами з: Суб вересня 24, 2022 9:56 am
Позивний: UR5FFC
Has thanked: 18 times
Been thanked: 25 times

Re: Шанувальники лампових конструкцій.

Повідомлення ur5ffc »

twskm писав: Нед лютого 11, 2024 10:58 am А дані контурів і фото можно виставити, і схему на 6є12?
Особливо контура вихідного.
В мене просто дуже мало місця під драйвер залишилось в корпусі.

 
 
 

 
Фото зроблю, про дані не впевнений, бо не пам'ятаю чи зберігся перелік елементів, треба шукати.
На 6Є12Н, на скільки пам'ятаю, лише ШПУ з ШПТ в аноді.

Про вихідний контур: чого саме?, ГУ-74Б?, чи драйвера на 1П24Б?
 
twskm
Повідомлень: 37
З нами з: Пон жовтня 16, 2023 5:26 pm

Re: Шанувальники лампових конструкцій.

Повідомлення twskm »

Вихідний контур драйвера 1П24. І ШПУ на 6Є12.
 
ur5ffc
Повідомлень: 94
З нами з: Суб вересня 24, 2022 9:56 am
Позивний: UR5FFC
Has thanked: 18 times
Been thanked: 25 times

Re: Шанувальники лампових конструкцій.

Повідомлення ur5ffc »

twskm писав: Нед лютого 11, 2024 11:35 am Вихідний контур драйвера 1П24. І ШПУ на 6Є12.
 

 
ок, пошукаю. хоча, шпу нічого цікавого, класична схема.
 
ur5ffc
Повідомлень: 94
З нами з: Суб вересня 24, 2022 9:56 am
Позивний: UR5FFC
Has thanked: 18 times
Been thanked: 25 times

Re: Шанувальники лампових конструкцій.

Повідомлення ur5ffc »

ШПП 6Э12Н вже є на схемі, яку я виклав.
Відповісти