Ламповий підсилювач потужності

Відповісти
oldPsyho
Повідомлень: 634
З нами з: П'ят жовтня 14, 2022 4:13 pm
Звідки: KO40ig
Позивний: UR5XOU
Has thanked: 184 times
Been thanked: 70 times

Ламповий підсилювач потужності

Повідомлення oldPsyho »

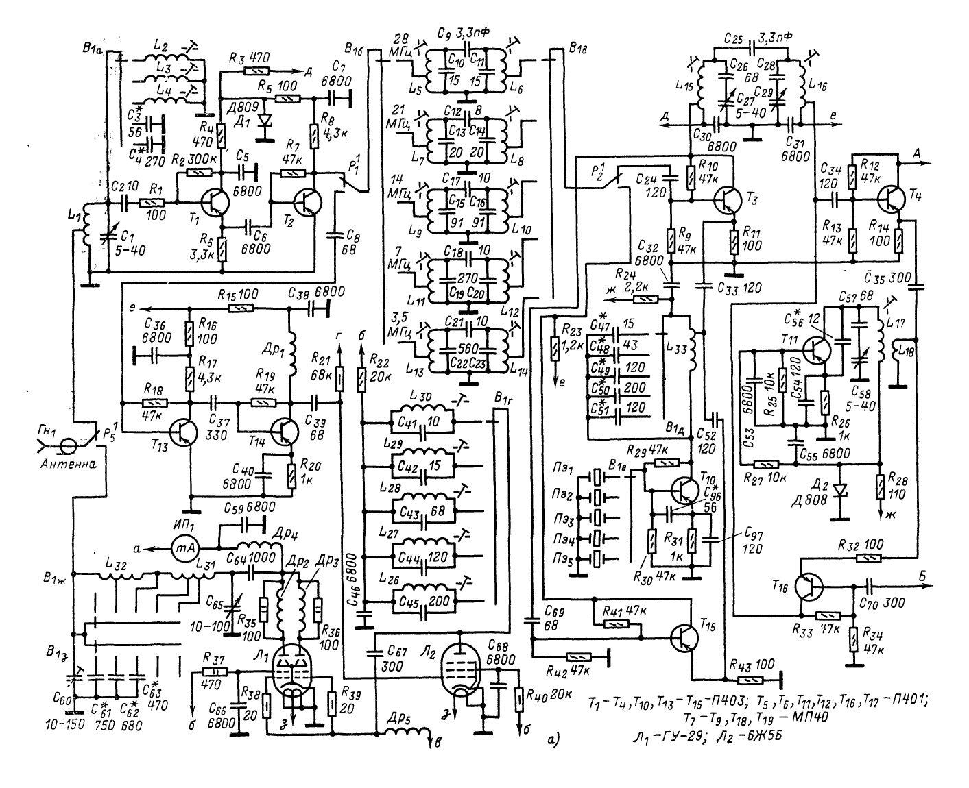
Тєкс, продовжимо долгострой))

Є мисля задіяти в вихідному каскаді 6П44С (6П36С/45С) з анодним 300-350в.

Натяп-ляпав схему...

 
Вкладення
2025-03-20_14-27.png
UR5FFR
Повідомлень: 1360
З нами з: Пон вересня 12, 2022 4:04 pm
Has thanked: 120 times
Been thanked: 763 times

Re: Ламповий TRX без комутації гетеродинів

Повідомлення UR5FFR »

У драйвері в катоді не вистачає резистора зашунтованого ємністю щоб лампа в режимі була
oldPsyho
Повідомлень: 634
З нами з: П'ят жовтня 14, 2022 4:13 pm
Звідки: KO40ig
Позивний: UR5XOU
Has thanked: 184 times
Been thanked: 70 times

Re: Ламповий TRX без комутації гетеродинів

Повідомлення oldPsyho »

UR5FFR писав: Чет березня 20, 2025 4:16 pm У драйвері в катоді не вистачає резистора зашунтованого ємністю щоб лампа в режимі була

 
Гмгм, а нема там ніякого резистора.

 
Вкладення
2025-03-20_16-31.png
UR5FFR
Повідомлень: 1360
З нами з: Пон вересня 12, 2022 4:04 pm
Has thanked: 120 times
Been thanked: 763 times

Re: Ламповий TRX без комутації гетеродинів

Повідомлення UR5FFR »

А повна схема де? Куди там стрілка (б) веде? Яка напруга буде на сітці при передачі?
oldPsyho
Повідомлень: 634
З нами з: П'ят жовтня 14, 2022 4:13 pm
Звідки: KO40ig
Позивний: UR5XOU
Has thanked: 184 times
Been thanked: 70 times

Re: Ламповий TRX без комутації гетеродинів

Повідомлення oldPsyho »

Та шо ж такоє ))
MРБ 1003

 
Вкладення
2025-03-20_16-42.png
2025-03-20_16-42_1.png
2025-03-20_16-43.png
UR5VFT
Повідомлень: 517
З нами з: Вів січня 17, 2023 6:22 pm
Позивний: UR5VFT
Has thanked: 497 times
Been thanked: 106 times

Re: Ламповий TRX без комутації гетеродинів

Повідомлення UR5VFT »

- 250 вольт на сітку багато і бажано 5б замінити іншою. потужніший..
 
UR5FFR
Повідомлень: 1360
З нами з: Пон вересня 12, 2022 4:04 pm
Has thanked: 120 times
Been thanked: 763 times

Re: Ламповий TRX без комутації гетеродинів

Повідомлення UR5FFR »

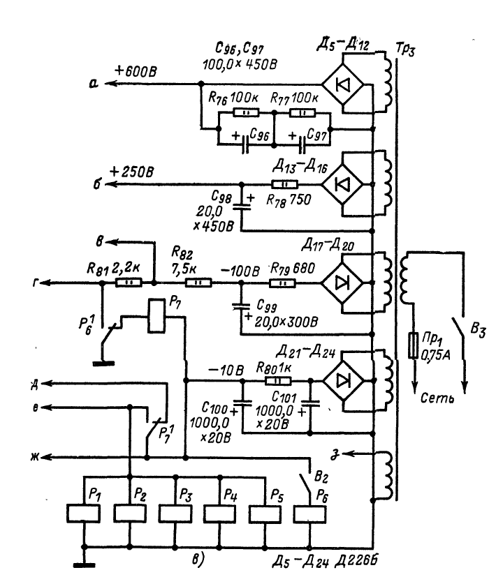
oldPsyho писав: Чет березня 20, 2025 4:43 pm Та шо ж такоє ))
MРБ 1003
Ні, схема гівно повне. По перше - 250в анодного для 6Ж5Б це дуже забагато. Тому що в шиті пишуть що 150в - максимум
Screenshot_2025_03_20-4.png
Screenshot_2025_03_20-4.png (51.2 Кіб) Переглянуто 51506 разів
Далі, сітка повинна мати негативний потенціал відносно катоду. Зазвичай у катод вмикають резистор і отримують на катоді декілька вольт а на сітці - нуль. А відносно катоду на сітці маємо негативне зміщення. Тут цього нема тому що при передачі сітка на землі і катод теж
Ось номінальний режим для цієї лампи
Screenshot_2025_03_20-5.png
Screenshot_2025_03_20-5.png (37.58 Кіб) Переглянуто 51506 разів
Там де синім кольором - там повинна бути робоча точка. А вона там де красним відмічено
Screenshot_2025_03_20-6.png
Screenshot_2025_03_20-6.png (42.42 Кіб) Переглянуто 51506 разів
Якщо вхідна напруга на сітці більше нуля то через неї починає проходити стром і вхідний опір суттєво зменшується. Тому негативне зміщення дають та амплітуда вхідного сигналу не повинна його перевищувати щоб не заходити в зону сіточних струмів.

Отже замість 6Ж5Б ставимо 6Ж5П або інший пентод який дозволяє анодного 250в+. В катод обов'язково резистор.
Ось наприклад ж-л радіо №10 1981 рік на 17й сторінці
Screenshot_2025_03_20-7.png
У катоді драйвера 6Ж9П стоїть 100ом резистор. У катоді ГУ-19 стоїть стабілітрон - це дозволило відмовитися від негативної напруги
 
UR5VFT
Повідомлень: 517
З нами з: Вів січня 17, 2023 6:22 pm
Позивний: UR5VFT
Has thanked: 497 times
Been thanked: 106 times

Re: Ламповий TRX без комутації гетеродинів

Повідомлення UR5VFT »

UR5FFR
Повідомлень: 1360
З нами з: Пон вересня 12, 2022 4:04 pm
Has thanked: 120 times
Been thanked: 763 times

Re: Ламповий TRX без комутації гетеродинів

Повідомлення UR5FFR »

UR5VFT писав: Чет березня 20, 2025 8:30 pm  - https://www.youtube.com/watch?v=vKUC4RL3BG4

 
А до чого це тут? Ну окрім того що ролики цього кацапа - повне занудство для зумерів та не несуть корисної інформації.
І до речі відео можна вставляти у пости нормально для людей viewtopic.php?t=4
І ще до речі коли ви кидаєте якісь посилання - пишіть до чого вони. Бо ходити по стороннім сайтам та домірковувати що ви мали на увазі - то таке собі задоволення. Це ж форум для спілкування а не для обміну посиланнями в кудись :)
oldPsyho
Повідомлень: 634
З нами з: П'ят жовтня 14, 2022 4:13 pm
Звідки: KO40ig
Позивний: UR5XOU
Has thanked: 184 times
Been thanked: 70 times

Re: Ламповий TRX без комутації гетеродинів

Повідомлення oldPsyho »

oldPsyho писав: Нед червня 23, 2024 1:11 pm Ось схема, ток колектора встановив резистором R2 в 120мА
 



 
Продовжимо, перемотав трасформатор Т1, вистави ток покоя в 150ма, подав на вхід синус 14мгц (100mv Vpp) з Г4-107. На виході, на R5 отримую 2Vpp. Може транзюку мало розкачки?

 
 
 
Вкладення
photo_2025-03-21_15-36-43.jpg
2025-03-21_15-37.png
Відповісти