Прості схеми приймачів

oldPsyho
Повідомлень: 638
З нами з: П'ят жовтня 14, 2022 4:13 pm
Звідки: KO40ig
Позивний: UR5XOU
Has thanked: 190 times
Been thanked: 71 time

Прості схеми приймачів

Повідомлення oldPsyho »

Кину й я кілька схем саморобних приймачів.
 
 
Вкладення
Simplest_Superhet_RX.gif
Simplest_Superhet_RX.gif (31.9 Кіб) Переглянуто 46207 разів
HF-VHF_AM-FM_RX_WA2NDM.gif
HF-VHF_AM-FM_RX_WA2NDM.gif (22.98 Кіб) Переглянуто 46207 разів
Air-band_On-Board_Passive_RX_VK6FH.gif
Air-band_On-Board_Passive_RX_VK6FH.gif (21.32 Кіб) Переглянуто 46207 разів
30.gif
30.gif (8.27 Кіб) Переглянуто 46207 разів
7MHz_All-PNP_DCR_JH5ESM.gif
UR5VFT
Повідомлень: 589
З нами з: Вів січня 17, 2023 6:22 pm
Позивний: UR5VFT
Has thanked: 593 times
Been thanked: 127 times

Re: Прості схеми приймачів

Повідомлення UR5VFT »

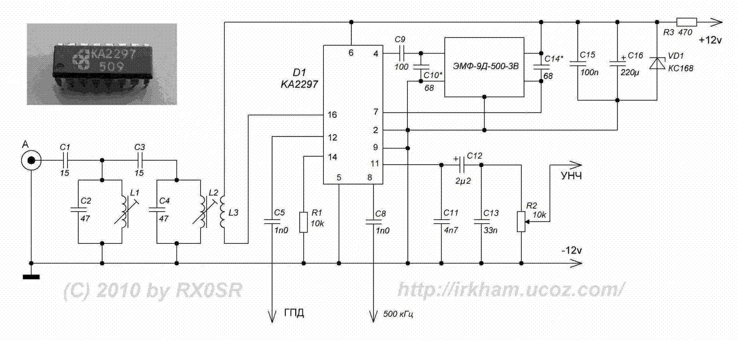
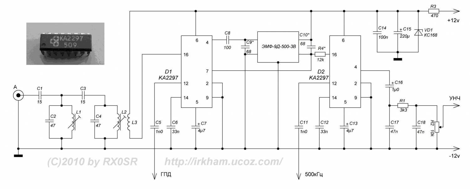
у кого є старі запаси (я брав з автоприймачів) KA2297 = TA2003, TA8164P.
 
 
Вкладення
4191141.GIF
1822381.gif.jpg
UR5FFR
Повідомлень: 1452
З нами з: Пон вересня 12, 2022 4:04 pm
Has thanked: 132 times
Been thanked: 848 times

Re: Прості схеми приймачів

Повідомлення UR5FFR »

Переніс в окрему тему.
UR5VFT
Повідомлень: 589
З нами з: Вів січня 17, 2023 6:22 pm
Позивний: UR5VFT
Has thanked: 593 times
Been thanked: 127 times

Re: Прості схеми приймачів

Повідомлення UR5VFT »

73!
 
Вкладення
img_9518.jpg
oldPsyho
Повідомлень: 638
З нами з: П'ят жовтня 14, 2022 4:13 pm
Звідки: KO40ig
Позивний: UR5XOU
Has thanked: 190 times
Been thanked: 71 time

Re: Прості схеми приймачів

Повідомлення oldPsyho »

Ще трошки))
 
 
Вкладення
AM-FM-SSB-CW_RX.gif
AM-FM-SSB-CW_RX.gif (32.81 Кіб) Переглянуто 45270 разів
SW_Two-FET_Regen_RX.gif
SW_Two-FET_Regen_RX.gif (35.47 Кіб) Переглянуто 45273 разів
Superregenerative_HF_RX.gif
Superregenerative_HF_RX.gif (20.92 Кіб) Переглянуто 45273 разів
High_Sensitivity_3V_RX.gif
High_Sensitivity_3V_RX.gif (21.38 Кіб) Переглянуто 45273 разів
HF_Regen_RX_BH1RBG.gif
HF_Regen_RX_BH1RBG.gif (53.53 Кіб) Переглянуто 45273 разів
HF_Regen_RX_Auto_Control.gif
HF_Regen_RX_Auto_Control.gif (6.31 Кіб) Переглянуто 45273 разів
500kHz-30MHz_Regen_RX.gif
500kHz-30MHz_Regen_RX.gif (16.23 Кіб) Переглянуто 45273 разів
80MHz_125MHz_AM-FM_Regen_RX.gif
80MHz_125MHz_AM-FM_Regen_RX.gif (6.65 Кіб) Переглянуто 45273 разів
80m-40m_RX_DCR_WA0RBR.gif
3_Transitor_SW_Radio.gif
SIMON
Повідомлень: 18
З нами з: Чет травня 01, 2025 8:40 pm
Been thanked: 7 times

Re: Прості схеми приймачів

Повідомлення SIMON »

https://us5qbr.blogspot.com/2021/03/blog-post.html   це блог нашого земляка.тема простих приймачів там висвітлена,як на мене,досить непогано.
 
UR5VFT
Повідомлень: 589
З нами з: Вів січня 17, 2023 6:22 pm
Позивний: UR5VFT
Has thanked: 593 times
Been thanked: 127 times

Re: Прості схеми приймачів

Повідомлення UR5VFT »

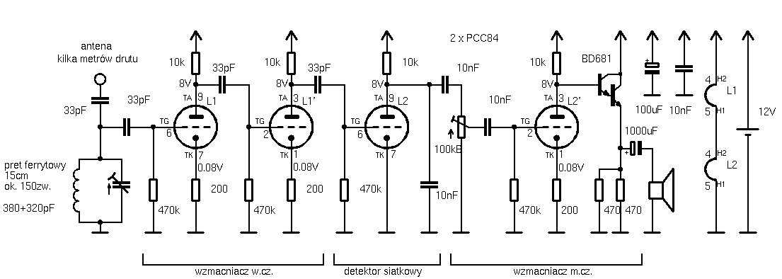
 рcc 84= 6н 14-23-24п   73!
 
 
Вкладення
инфрадин_Р107М.JPG
6н24п (2).jpg
6н24п (1).jpg
UR5VFT
Повідомлень: 589
З нами з: Вів січня 17, 2023 6:22 pm
Позивний: UR5VFT
Has thanked: 593 times
Been thanked: 127 times

Re: Прості схеми приймачів

Повідомлення UR5VFT »

Ігор Віт.
Повідомлень: 80
З нами з: Вів червня 18, 2024 6:44 pm
Has thanked: 8 times
Been thanked: 24 times

Re: Прості схеми приймачів

Повідомлення Ігор Віт. »

 Показані в повідомленні в 10:35 деякі схеми мають авторів. І автор- це не VA3IUL.
Це з журналу Радіо №10 за 1991 рік:
p0075.jpg
 А це схема Полякова з його книги "Приймачі АМ сигналів":

 
Поляков.jpg
 
 
 
 
Ігор Віт.
Повідомлень: 80
З нами з: Вів червня 18, 2024 6:44 pm
Has thanked: 8 times
Been thanked: 24 times

Re: Прості схеми приймачів

Повідомлення Ігор Віт. »

А це простий супергетеродин від JF1OZL:
p0049 — обрез.jpg
 
 
 
 
 
Відповісти