Сторінка 1 з 1
6П15П в PA
Додано: Пон липня 24, 2023 3:30 pm
Пенсіонер
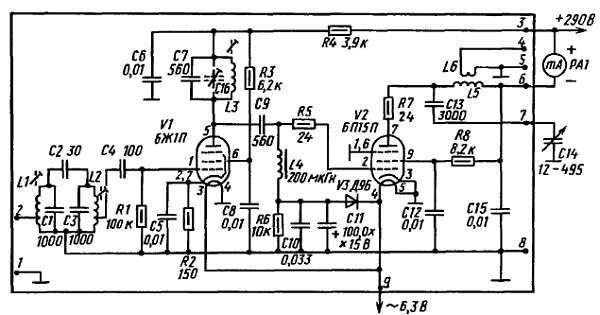
Приклади використання лампи в QRP конструкціях.

- 6П15П РА.jpg (36.6 Кіб) Переглянуто 38867 разів

- УМ 6П15П 1.jpeg (56.84 Кіб) Переглянуто 38867 разів
Re: 6П15П в PA
Додано: Пон липня 24, 2023 3:36 pm
Пенсіонер
Re: 6П15П в PA
Додано: Пон липня 24, 2023 4:47 pm
UR5FFR
Re: 6П15П в PA
Додано: Суб вересня 16, 2023 7:11 pm
Пенсіонер

- УМ 6п15п.jpg (70.15 Кіб) Переглянуто 38609 разів
На вході 0,5В, на сітці 3В.
Струм без сигналу 30мА, з сигналом 35-40мА.
Re: 6П15П в PA
Додано: Нед вересня 17, 2023 1:48 am
UR5VFT
-якщо немає 6п15п повний аналог 6п9..73!